一、创建促销方案基本信息
在创建买赠促销方案时,您需要首先填写一些基础信息,确保促销活动能够准确执行。
促销主题与有效期:
– 促销主题:为您的促销活动命名,例如“夏季清仓大促”、“新品上市买赠”等,方便识别和管理。
– 促销日期:设定促销活动的开始日期和结束日期。只有在此期间内,促销方案才会生效。
自定义字段(可选):
– 如果您的企业有特殊的管理需求,可以根据业务需要配置额外的自定义字段。配置完成后,这些字段会显示在促销方案的基本信息中,用于记录更多个性化信息。

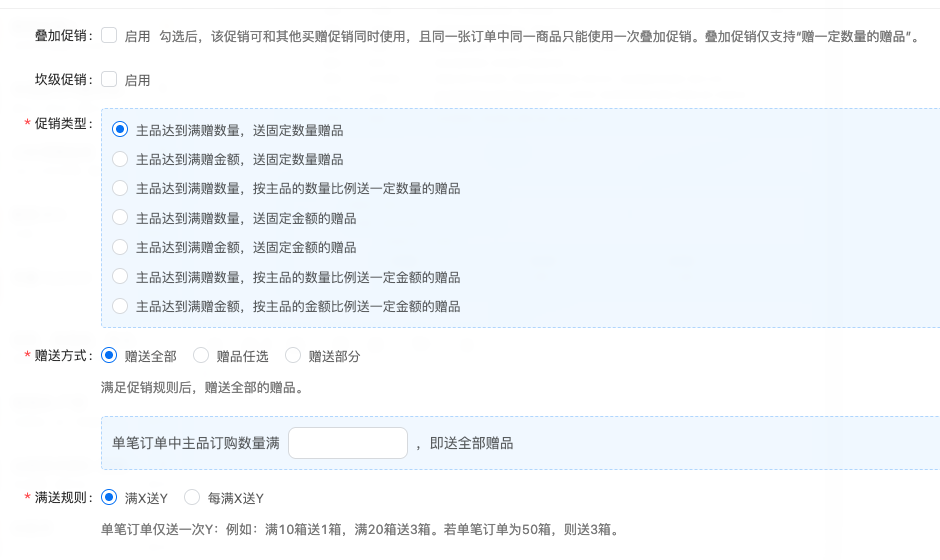
促销方案的基本信息页面

自定义字段配置页面
二、设定促销客户范围
您可以灵活定义哪些客户可以参与本次买赠促销活动。
• 按客户属性筛选:根据客户的类型(如:经销商、KA客户)、级别(如:VIP客户、普通客户)或所属销售区域等属性,批量设置促销的适用范围。
• 指定具体客户:您也可以直接选择特定的客户,让他们享受本次促销优惠。

三、配置促销规则
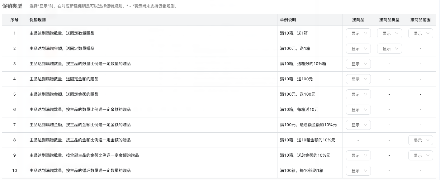
系统支持多种灵活的买赠促销规则,您可以根据实际需求选择最适合的方案。
3.1 满额/满量送固定数量赠品
这类规则适用于当主商品达到一定数量或金额时,赠送固定数量的赠品。
• 主品达到指定数量,送固定数量赠品:当所有参与促销的主商品总数量达到您设定的门槛时,系统将赠送您指定数量的赠品。
– 示例:购买任意主商品总计满 10 件,送赠品 A 1件。
• 主品达到指定金额,送固定数量赠品:当所有参与促销的主商品总金额达到您设定的门槛时,系统将赠送您指定数量的赠品。
– 示例:购买任意主商品总计满 500 元,送赠品 B 2件。
3.2 满额/满量按比例送赠品
这类规则允许赠品的数量或金额根据主商品的购买数量或金额按比例计算。
• 主品达到指定数量,按主品数量比例送赠品:当所有主商品总数量达到门槛后,赠品的数量将根据主商品的购买数量按比例计算。
– 示例:购买任意主商品总计满 100 件,每 10 件主商品送赠品 C 1件。
• 主品达到指定数量,按主品数量比例送一定金额的赠品:当所有主商品总数量达到门槛后,赠送的金额将根据主商品的购买数量按比例计算。
– 示例:购买任意主商品总计满 50 件,每 5 件主商品送价值 10 元的赠品。
• 主品达到指定金额,按主品金额比例送一定金额的赠品:当所有主商品总金额达到门槛后,赠送的金额将根据主商品的购买金额按比例计算。
– 示例:购买任意主商品总计满 200 元,每 100 元主商品送价值 5 元的赠品。
• 主品达到指定数量,按全部主品的金额比例送一定金额的赠品:当所有主商品总数量达到门槛后,赠送的金额将根据所有主商品的总金额按比例计算。
3.3 满额/满量送固定金额赠品
这类规则允许赠品的数量或金额根据主商品的购买数量或金额,赠送固定金额的赠品。
• 主品达到指定数量,送固定金额的赠品:当所有主商品总数量达到门槛后,赠送您指定金额的赠品。
– 示例:购买任意主商品总计满 20 件,送价值 50 元的赠品。
• 主品达到指定金额,送固定金额的赠品:当所有主商品总金额达到门槛后,赠送您指定金额的赠品。
– 示例:购买任意主商品总计满 1000 元,送价值 100 元的赠品。

四、高级促销配置(企业参数设置)
通过开启企业参数,您可以解锁更复杂的促销管理功能,实现更精细化的控制。
买赠促销支持多坎级:
– 开启此参数后,您可以在同一个促销方案中,为商品设置多个不同级别的促销门槛和对应的赠品。例如,满 100 送 A,满 200 送 B。
买赠促销支持叠加促销:
不开启参数时,“赠一定数量”与“赠一定金额”可叠加:在下单时,同一个商品可以同时满足一个“赠一定数量”的促销和一个“赠一定金额”的促销,即同时享受两种优惠。
勾选此选项后,同一个商品还可以额外满足一个“赠一定数量-叠加”的促销,实现同时享受三种促销优惠。此功能目前仅支持“按商品”创建的促销方案。
买赠促销支持不同坎级送不同赠品:
– 开启此参数后,在设置多坎级促销时,您可以为每个不同的促销坎级配置不同的赠品。例如,满 100 送赠品 A,满 200 送赠品 B。
买赠促销启用流程审批:
– 开启此参数后,您新增的促销方案需要经过审批通过后才能正式生效。这有助于大型企业进行促销活动的精细化管理和风险控制。如果未开启,促销方案创建后将立即生效。
买赠促销支持商品必含:
– 开启此参数后,您可以在促销方案中设置“商品必含品种数”和“必含数量”。
– 示例:如果促销规则是“满 10 箱送 1 箱赠品”,促销商品包含 A 和 B。您可以要求在满足 10 箱总数量的前提下,其中至少有 4 箱必须是商品 A。这有助于推动特定商品的销售。
买赠促销启用批量生成赠本品促销:
– 开启此参数后,在新增促销时,您可以选择“促销生成方式”。如果选择“每个主品生成一个促销”,系统将为每个主商品单独创建一个促销方案,且赠品固定为该主商品本身。批量创建的促销方案,除了主品和赠品外,其他信息(如有效期、客户范围)将完全相同,方便快速配置。
买赠促销启用下单适用范围:
– 开启此参数后,您可以限制促销方案的适用对象,例如:
• 仅限业务员代下单:只有业务员通过勤策为客户下单时,该促销才生效。
• 仅限客户自主下单:只有客户通过勤策订货下单时,该促销才生效。
• 不限制:所有下单方式均可享受促销。
按主品数量比例送赠品时,赠品计算尾数逻辑:
– 当促销规则是按比例赠送赠品时,如果计算结果出现小数(尾数),您可以设置系统如何处理:
• 向下取整:直接舍弃小数部分。
– 示例:主品满 100 箱送 10%赠品,下单 155 箱,向下取整送 15 箱赠品。
• 四舍五入:按照四舍五入的规则处理小数部分。
– 示例:主品满 100 箱送 10%赠品,下单 155 箱,四舍五入送 16 箱赠品。
五、买赠促销新增页面支持字段的显隐配置

