OpenAPI说明
勤策官网
首页
商贸ERP(易商贸)
数据报表
库存报表
文章
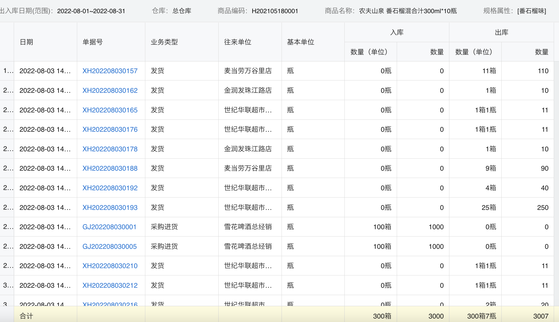
商品库存变动表
1、功能概述
商品库存变动表,可用来查看各个商品在不同仓库中,某短时间内的库存变动。
2、功能入口
进销存→数据报表→库存报表→商品库存变动表
3、统计逻辑
1、库存变动统计于所有出入库单据,包括采购、采购退货、销售、销售退货、其他出入库、盘点单等。 2、统计商品在仓库中,某段时间的期初、入库、出库和期末结存数量
3、点击某个商品,可跳转到该商品在该仓库内的变动明细,即某短时间内的所有出入库单据
2023-06-29
本页目录
2